尾翼集成涵道推进的好处
发布日期:2026-01-25
浏览量:21
集成某些推进系统,例如分布式涵道或螺旋桨,可能会导致飞机暴露出额外的表面积和其他缺点。例如,单螺旋桨活塞或涡轮螺旋桨推进器可以以推进器或拉力器的配置将推进器直接集成到机头或机尾的机身中,以便将推进系统埋入机身中。然而,机身机头集成可能会导致机身需要比客舱所需的相对较长,从而导致额外的表面积,从而导致高速推进器气流对机身产生额外的摩擦(通常称为“摩擦阻力”)。同样,将螺旋桨集成到飞机的尾部区域也会导致问题,例如,与客舱所需的机身相比,机身相对较长,同样会导致额外的表面积,以及由于机身边界层积聚和机翼下洗而导致相对较差的流入,这可能会导致螺旋桨吸入高度湍流的空气。其他类型的推进系统,如涵道风扇或涡扇推进器系统,可以利用机身或机翼安装,这也可能存在缺点。

例如,单推进器机身安装的推进系统可能会显著增加飞机的表面积,并需要边界层分流器来避免吸入湍流空气,这两者都可能导致通常被称为“寄生阻力”的增加。双机身安装的推进系统,无论是涵道风扇还是其他方式,也可能显著增加飞机表面积,还需要一个贯穿式结构,这可能会减少乘客可用的客舱体积。双螺旋桨安装的螺旋桨或涵道风扇也可能显著增加飞机的表面积,同时也会因机舱-机翼相互作用产生的升力下降以及涡流和排气而恶化机翼上翼展方向升力分布,从而由于非椭圆升力载荷而增加额外的诱导阻力。因此,需要改进飞行器的推进器系统。

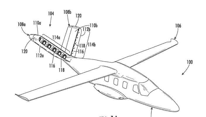
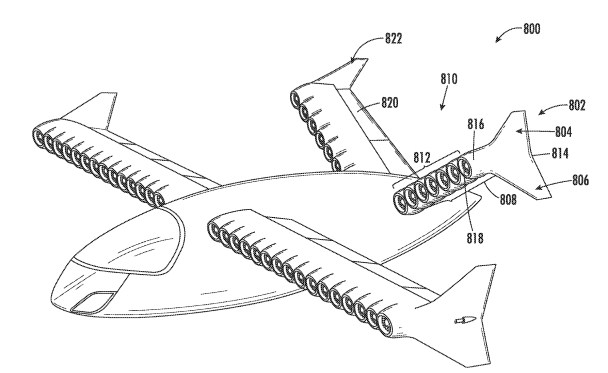
针对类似的问题,Whisper考虑了一种新的推进系统方案,与传统推进系统相比,不会产生额外的表面积并减少寄生阻力、摩擦阻力、诱导阻力的推进系统。推进器系统(例如推进器阵列)可以设置在飞行器的机翼、飞行器的尾翼(例如尾翼的一个或多个稳定面)或飞行器的机翼和尾翼上,为各种飞行模式提供足够的推力,而不会增加飞行器的湿面积。这种推进器系统可以嵌入或集成到飞行器的机翼或尾翼中。通过将推进系统嵌入或集成到机翼或尾翼中,与可以连接到机翼、机身的传统推进系统相比,Whisper的推进系统有利地避免了增加飞行器的总湿面积和随之而来的阻力。在一些示例中,设置在飞行器尾翼上的一个或多个推进器系统可以提供足够和适当的推进力,从而不需要其他主要推进装置来实现关键飞行器的预期飞行能力(例如速度、任务时间、有效载荷能力等)。

例如一些飞行器可以仅在飞行器的尾翼内包括推进系统,并且在飞行器的任何机翼上或在飞行器的机身上没有任何推进系统。仅在尾翼内具有推进系统的飞行器可能会产生其他位置具有推进器系统的飞行器无法实现的好处,包括以下一项或多项:(a)与具有替代集成推进系统的其他飞行器相比,表面积减小;(b)提供冗余推进系统的能力确保了用于升降舵俯仰控制和方向舵偏航控制的功率和推力耦合的可用性,与传统尾翼表面相比,能够实现相对较小的水平稳定面或垂直稳定面;(c)机身相对较短,俯仰控制或偏航控制没有减少,尾翼表面积也没有相应增加,以获得等效的控制效果;(d)与机翼安装相比,空气动力跨度载荷更理想该推进器避免了传统机翼安装的多动力短舱集成的缺点,跨跨度载荷的升力下降,由于机舱干扰导致更高的诱导阻力;螺旋桨涡流效应,可能导致螺旋桨一侧上洗,另一侧下洗,导致脱落涡流,进一步破坏实现最低诱导阻力的椭圆载荷分布;其它翼舱相互作用效应,可能会导致阻力增加(例如分离流、凸形交叉等);(e)能够集成推进器可变面积比喷嘴,以在使用相同方向舵或升降舵控制执行器的飞行速度下获得最佳推进效率;(f)避免或尽量减少机翼螺旋桨对进出飞机的乘客或在飞机附近工作的地面服务人员的干扰或危险,(g)避免或最小化涵道或螺旋桨叶片撞击机身机舱区域以提高安全性,(h)避免或减少噪音、振动,(i)通过机翼发动机改善飞行员或乘客的视野而不再遮挡这些视野。

Whisper aero一直在聚焦涵道技术的发展,其业务方向涉及无人机、商业航空、防务和消费用品多个方向,形成了以电动涵道技术为核心,多行业赋能的发展模式。
上一篇 : 私家飞机降落需要多少钱
下一篇:39.9 万的“私人直升机”?这是要让年轻人上天


